Поиск:
 

Двигатели

RU-1000 Рейтинг
Поделитесь страницей в Социальных сетях
Рубрика: Двигатели
Регулятор угла относится к устройствам для бурения наклонно-направленных скважин, а именно к регуляторам угла и реактивного момента героторного двигат...
Подробно >>

Поставщик: Башкирская буровая сервисная компания, ООО

Рубрика: Двигатели
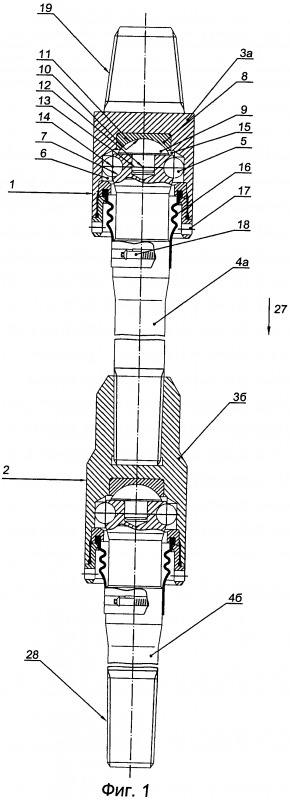
Карданный вал относится к области транспортного машиностроения, в частности к приводам транспортных машин и стационарных установок, где между ведущими...
Подробно >>

Поставщик: Башкирская буровая сервисная компания, ООО

Рубрика: Двигатели
1. Опора средняя 195/95 со втулкой (?165х100) 5 000 руб. 2. Опора средняя 240/130 со втулкой (?205х100)...
Подробно >>

Поставщик: Башкирская буровая сервисная компания, ООО

Рубрика: Двигатели
Назначение - проведение ремонтных работ при спускоподъемных операциях на скважинах насосно-компрессорных труб, в том числе с применением ключа-автомат...
Подробно >>

Поставщик: Нефтеград, ООО

Рубрика: Двигатели
1. Осевая опора П2-240 (КОМПЛЕКТ) (?130) 41000 руб. 2. Осевая опора ПУ-240 (КОМПЛЕКТ) (?115)...
Подробно >>

Поставщик: Башкирская буровая сервисная компания, ООО

Рубрика: Двигатели
Двигатели винтовые забойные для бурения скважин в Нефтекамске Просмотреть на сайте компанииСообщить о нарушении написать письмо Кому Башкирская буров...
Подробно >>

Поставщик: Башкирская буровая сервисная компания, ООО

Рубрика: Двигатели
На погрузчиках TOYOTA устанавливаются высокоэффективные дизельные двигатели, специально разработанные для применения на промышленных транспортных маши...
Подробно >>

Поставщик: Дальтехсервис-Находка, ООО

Рубрика: Двигатели
Запчасти топливной арматуры
Подробно >>

Поставщик: Дизель Маркет, ООО

Рубрика: Двигатели
Запчасти двигателей
Подробно >>

Поставщик: Дизель Маркет, ООО

Рубрика: Двигатели
Двигатель предназначен для бурения вертикальных, наклонно-направленных скважин долотами диаметром 215,9...269,9 мм с использованием промывочной жидкос...
Подробно >>

Поставщик: ТД Радиус-Сервис, ООО

Новые компании
Адрес
141101, Московская обл., г. Щелково, ул. Заводская, д. 14
Телефон
+7 (495) 221-56-10
Адрес
129329, г. Москва, ул. Кольская, д. 1, стр. 10
Телефон
(495) 225-31-77, 775-19-68
Адрес
127055, Тихвинский пер., д. 11, стр. 2, помещ. 1
Телефон
8 (800) 301-20-50 Бесплатно по России
Адрес
141503, Мocкoвcкaя oблacть, г. Сoлнeчнoгopcк, ул. Рeвoлюции, д.3, стр.1, помещение 82
Телефон
+7(495)988-40-47, +7(495)988-40-48, +7(495)994-08-86
Адрес
125009, г. Москва, ул. Тверская 14
Телефон
8 (800) 200-15-77, +7 (495) 640-80-77
Все компании