Арматура фонтанная и нагнетательная
|
Поделитесь страницей в Социальных сетях
|
|
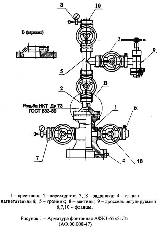
 Арматура фонтанная и нагнетательная Устьевая арматура предназначена для эксплуатации фонтанных (газлифтных) скважин, герметизации трубного, затрубного (межтрубного) пространства фонтанных (газлифтных) скважин, контроля и регулирования режима эксплуатации, подвешивания обсадных колонн и разобщения межколонных пространств, проведения исследования и изучения скважин, а также для возможности отбора проб нефти и газа в условиях умеренного и холодного макроклиматических районов I2-II5 по ГОСТ 16350-80. Климатическое исполнение - УХЛ, категория размещения при эксплуатации - I по ГОСТ 15150-69 при температуре окружающего воздуха от -60?С до+40?С. Арматура в зависимости от исполнения предназначена для некоррозионной скважинной среды. Некоррозионная среда - нефть, газ, газоконденсат с содержанием механических примесей до 0,05, суммарным содержанием H2S и CO2 до 0,003% и пластовой воды до 90% по объему. Фонтанную арматуру устанавливают на колонную обвязку нефтяных и газовых скважин в процессе их освоения и опробования, а также добывающих скважин на весь период их фонтанирования. Через фонтанную арматуру осуществляют технологические операции и спуск скважинного оборудования, инструментов и приборов.
Вас также могут заинтересовать
Корпусные детали изготавливаются из низколегированной хроммолибденовой стали (аналог AISI 4130). Для коррозионных сред К1 и К2 кольцевые канавки под уплотнительные кольца выполняются с коррозионностой
Арматура фонтанная и нагнетательнаяАрматура фонтанная, выпускаемая в соответствии с ГОСТ 13846-89 и ТУ 3665-010-00221801-99, предназначена для герметизации устья насосных (ЭЦН, ШГН) и фонтанных нефтян
Фонтанная арматура, обвязка колонная, задвиджки, технологическая оснастка. Арматура фонтанная и нагнетательная.
Протектор фонтанной арматуры (ПФА) предназначен для защиты фонтанной арматуры при проведении работ комплексом по гидравлическому разрыву пластов призабойных зон газовых скважин и нефтяных скважин с вы
Предназначена для герметизации устья, подвески скважинных трубопроводов, контроля и регулирования режима работы скважин.
Внимание! Информация по Арматура фонтанная и нагнетательная предоставлена компанией-поставщиком Нефтегазмаш-техно (НГМ-техно), ООО. Для того, чтобы получить дополнительную информацию, узнать актуальную цену или условия постаки, нажмите ссылку «Отправить сообщение».
|