Поиск:
 

Головка цилиндров Т-170

RU-1000 Рейтинг
Поделитесь страницей в Социальных сетях
Головка цилиндров Т-170
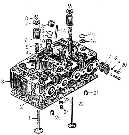
Поз. Наименование Артикул Кол-во в сборке Входит в сборку 0 Головка блока 51-02-3СП 2 _ 0 Головка цилиндров 51-02-111СП 1 51-02-3СП 1 Клапан впускной 14-02-33-В 2 51-02-3СП 2 Прокладка 51-02-107-01СП 2 _ 3 Головка цилиндров 51-02-40 1 51-02-111СП 4 Втулка клапана 51-02-41 4 51-02-111СП 5 Пружина 700-38-2862 4 51-02-3СП 6 Пружина клапана 700-38-2813 4 51-02-3СП 7 Тарелка клапана 0489 4 51-02-3СП 8 Сухарик 51-02-15 8 51-02-3СП 9 Прокладка 51-02-47 2 51-02-111СП 10 Втулка 51-02-48 2 51-02-111СП 11 Кольцо 46764 4 51-02-111СП 12 Кольцо 46764 4 _ 13 Пробка стопорная 51-02-42 2 51-02-111СП 14 Шпилька 29466-01 4 _ 15 Заглушка сферическая 51-02-50 4 51-02-111СП 16 Донышко 51-02-49 4 51-02-111СП 17 Прокладка 40157 2 _ 18 Заглушка 0299 2 _ 19 Шайба 8Т65Г09 4 _ 20 Болт М8Х20.58.019 4 _ 21 Дефлектор длинный 51-02-43 4 51-02-111СП 22 Клапан выпускной 14-02-32 2 51-02-3СП 23 Кольцо 40843 8 _ 24 Трубка 02218 8 _ 25 Дефлектор короткий 51-02-44 4 51-02-111СП
Вас также могут заинтересовать

Запчасти к тракторам Т-130, Т-170 и бульдозерам на их базе

Компания ОМТС-Сервис. Предлагает запчасти к тракторам и бульдозерам Т-130, Т-170. Собственное производство.

Плуг лесной полосной ПЛП-135 (Т-100, Т-130, Т-170, Б-10, Б-170)

Плуг лесной полосной ПЛП-135 (Т-100, Т-130, Т-170, Б-10, Б-170) Плуг лесной полосной ПЛП-135 предназначен для пахоты полосами под посев и посадку лесных культур в лесной и лесостепной зонах на

Запчасти Р/кт к головке цилиндра а/м КАМАЗ (1Р)

Запчасти Р/кт к головке цилиндра а/м КАМАЗ (1Р) Наша сеть предлагает Вам широкий ассортимент оригинальных автозапчастей к автомобилям ГАЗ с гарантией качества от производителя. У нас Вы можете приоб

ПОРШЕНЬ (КМЗ) Т-170. Ф150Д160 АРТИКУЛ: 51-03-40

ПОРШЕНЬ (КМЗ) Т-170. Ф150Д160 АРТИКУЛ: 51-03-40 https://zapchast-lider.ru/shop/porshen-kmz-f150d160/

ПАЛЕЦ ПОРШНЕВОЙ ТРАКТОР Т-170,108-180 Ф150 Д160 (КМЗ) АРТИКУЛ: 16-03-50-01

ПАЛЕЦ ПОРШНЕВОЙ ТРАКТОР Т-170,108-180 Ф150 Д160 (КМЗ) АРТИКУЛ: 16-03-50-01 https://zapchast-lider.ru/shop/palec-porshnevoj-traktor-t-170-108-180-f150-d160-kmz/
Внимание!
Информация по Головка цилиндров Т-170 предоставлена компанией-поставщиком Энерготехстрой, ООО. Для того, чтобы получить дополнительную информацию, узнать актуальную цену или условия постаки, нажмите ссылку «Отправить сообщение».
Контакты компании
Страна
Россия
Регион
Челябинская область
Город
Челябинск
Адрес
Челябинск, ул. Енисейская, д. 13
Телефон
+7 (351) 2672084
Сделать запрос
Введите свое имя
Укажите свой Email
Напишите ваш вопрос
Подтвердите согласие