Поиск:
 

Штуцер дискретный регулируемый ШДР 03М-00.000

RU-1000 Рейтинг
Поделитесь страницей в Социальных сетях
Штуцер дискретный регулируемый ШДР 03М-00.000

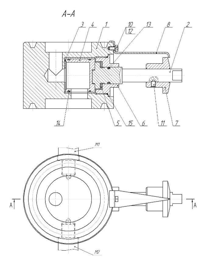
Штуцер дискретный регулируемый ШДР 03М-00.000 устанавливается в фонтанной арматуре за линейной задвижкой. ШДР 03М-00.000 предназначен для эксплуатации в климатических условиях УХЛ категории размещения 1 по ГОСТ 15150-69. Рабочая среда нефть, вода и газ. Рабочее давление 21 Мпа. Условный размер проходного отверстия регулируемого органа 2; 2,5; 3; 4; 5; 6; 8; 10; 12; 14; 18;20мм. Рабочая температура окружающей среды от -60°С до +40°С. Точность калибровки отверстий ±0,01 мм. Управление штуцером ручное.  Регулируемый орган - цилиндр. Габаритные размеры, без учёта выводов для манометров 265х136х100 мм.  Масса, не более 11,3кг.

Штуцер состоит из корпуса 1, в котором находится цилиндр с калиброванными отверстиями, вала привода цилиндра 2. Уплотнение цилиндра осуществляется резиновыми кольцами 13 и 14. Указатель 8 показывает на лимбе 7 расположение отверстий цилиндра и направление движения среды.

 

Вас также могут заинтересовать

Штуцеры дискретные регулируемые ШДР-9М

НПП Обуховская промышленная компания производит штуцеры дискретные регулируемые фланцевые ШДР-9М, ШДФ-9М, ШДФ -10М, ШРФ-20, штуцерные камеры. Предназначены для вывода нефтяной скважины на рабочий режи

Штуцер бортовой для заправки топливом ОСТ111320-74, УБС65, ПИ.095.00.000

Штуцер бортовой ОСТ111320-74 для заправки топливом предназначен для соединения бортовой системы с системой топливозаправщика, для заправки летательных аппаратов судов гражданской и военной авиации, да

Штуцер дискретный регулируемый ШДР-9К-65х70-М коррозионно-стойкий (нержавеющая сталь)

Штуцер дискретный регулируемый ШДР-9К-65х70-М коррозионно-стойкий (нержавеющая сталь) с уплотнением фланцев и корпуса буксы через стальные прокладки по ГОСТ 28919-91, а вала в корпусе буксы с помощью

Штуцер дискретный регулируемый ШДР 9К-65х70-М

Штуцер дискретный регулируемый ШДР 9К-65х70-М с уплотнением фланцев и корпуса буксы через стальные прокладки по ГОСТ 28919-91, а вала в корпусе буксы с помощью комплекта полиамидных шевронных уплотнен

Штуцер дискретный регулируемый ШДР-9М-90-2/20

Штуцер дискретный регулируемый ШДР-9М-90-2/20 устанавливается в фонтанной арматуре за линейной задвижкой и предназначен для эксплуатации в климатических условиях УХЛ категории размещения 1 по ГОСТ 151
Внимание!
Информация по Штуцер дискретный регулируемый ШДР 03М-00.000 предоставлена компанией-поставщиком НПП Обуховская промышленная компания. Для того, чтобы получить дополнительную информацию, узнать актуальную цену или условия постаки, нажмите ссылку «Отправить сообщение».
Контакты компании
Страна
Россия
Телефон
+78312955061
Интернет
dromash.ru
Сделать запрос
Введите свое имя
Укажите свой Email
Напишите ваш вопрос
Подтвердите согласие