Щиток для глухих иллюминаторов Тип I ГОСТ 21672-99 |
||
|
Поделитесь страницей в Социальных сетях
|
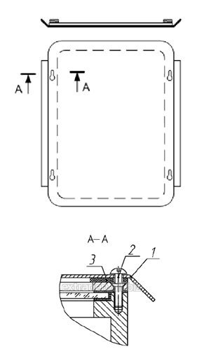
![]() Где: NO -дляглухогоиллюминатора; NO-Э -дляглухогоиллюминатора, стеклосэлектрообогревом; JL( R) -дляиллюминатора, открывающегосявлево (вправо); JL( R)-Э -дляиллюминатора, открывающегосявлево (вправо), стеклосэлектрообогревом; JТ -дляиллюминатора, открывающегосявверх; JТ-Э -дляиллюминатора, открывающегосявверх, стеклосэлектрообогревом; Примечание:Поэскизамзаказчикавозможноизготовлениещитковподобнойконструкциинестандартныхразмеров, втомчиследляиллюминаторовтрапециевиднойформы. Компания «ЭКСТРАДЭН» современная, динамически развивающаяся компания предлагает судовое оборудование и материалы различного назначения. Мы специализируемся на поставке судового оборудования оборудования и материалов для крупных судов, яхт и катеров для Судостроительных и Судоремонтных заводов, а так же Судоходных компаний России и Зарубежья. Качество, Инновации, Скорость - это главные критерии нашей работы!!! Опыт наших сотрудников на судовом рынке составляет более 10 лет, что позволяет реализовать широкий спектр дополнительных услуг в кратчайшие сроки. Это - таможенное оформление при экспортеи импорте заказанной продукции, логистика и контроль на территории России и за её пределами. Наши гибкие договорные условия позволяют решать не стандартные задачи с максимальным комфортом для клиента. Достаточно большой опыт работы позволяет добиваться наилучших результатов в сотрудничестве. Судостроение и Судоремонт Основной ассортимент судового оборудования и материалов: - Судовая химия UNITOR - полный ассортимент - Системы вентиляции и кондиционирования на судне РСС, ОС, ОСО, ВОС, ЦС, ЦСУ, ВРС - Судовые двери, крышки, иллюминаторы - Изоляционные материалы Paroc, Rockwool, Isover, Kaflex, ППЖ-200, Тизол, Armaflex, Arm - Насосное оборудование и СЗЧ к ним: НЦВ, НЦВС, ЦВС, НЦКГ, ЭКН, ЭНП, ЭВН, А13В (3В), НМШФ (ШФ), IMO (Hydroster), Bornemann - Судовая арматура - Судовое Электрооборудование - Резинотехнические изделия (РТИ): АКСС, С-509, пластины, ПРП-40.К-40, рукава, кранцы - Цепи, якоря, брашпили, шпили, лебедки, грейферы - Сепараторы ГЕА Вестфалия (GEA Westfalia Separator), СЦ-3, СЦ-1,5, СЛ-3, СК-2,5 и др. - Запасные части для дизелей 4ч 10,5/13, Wartsila, 6ч 12/14, Sulzer, Man, B&W, Skl, Ч 2Д 42, DetroitDiesel, Caterpillar, Daihatsu, Pielstik, ЧН 25/34, ЧН 40/46, ЧН 12/14, Оригинальные СЗЧ для Yanmar и Mitsubishi) - Сепарационное и теплообменное оборудование Alfa Laval и СЗЧ к нему - Судовая автоматика Danfoss, Autronica, Trafag, Amot Control, Mobrey - СЗЧ и оборудование для дноуглубительной и сопутствующей техники производства Demag и IHC, силовых установок Bolnes, гидрo и пневмосистем Rexroth Комплексное Снабжение Флота необходимым оборудованием и материалами Вас также могут заинтересовать Щиток для круглых иллюминаторов Тип IЩиток для круглых иллюминаторов Тип I Компания «ЭКСТРАДЭН» современная, динамически развивающаяся компания предлагает судовое оборудование и материалы различного назначения. Мы специализируемся на пЩиток для створчатых иллюминаторов с различной конфигурацией Тип I ГОСТ 21672-99Щиток для створчатых иллюминаторов с различной конфигурацией Тип I ГОСТ 21672-99 Где: NO -дляглухогоиллюминатора; NO-Э -дляглухогоиллюминатора, стеклосэлектрообогревом; JL( R) -дляиллюминЩиток солнцезащитный для прямоугольных глухих и створчатых иллюминаторов Тип IV ГОСТ 21672-99Щиток солнцезащитный для прямоугольных глухих и створчатых иллюминаторов Тип IV ГОСТ 21672-99 NOВ (W) -дляглухогоиллюминатора, прикрепленииболтами (сваркой); NOВ (W) -Э -дляглухогоиллюминатора, пЩиток затемнительные для прямоугольных универсальных иллюминаторов Тип II ГОСТ 21672-99Щиток затемнительные для прямоугольных универсальных иллюминаторов Тип II ГОСТ 21672-99 Компания «ЭКСТРАДЭН» современная, динамически развивающаяся компания предлагает судовое оборудование и материаИллюминаторы судовые прямоугольные, глухие ГОСТ 21672-99Иллюминаторы судовые прямоугольные, глухие ГОСТ 21672-99 355х500 E2-NOW-202-YI 364.113.038-03 261-01.138-03 355х500 E2-NOW-202-Y4 364.113.041-02.03 261-01.146 400х560 F3-NOW-202-YI 364.113.0
Внимание! Информация по Щиток для глухих иллюминаторов Тип I ГОСТ 21672-99 предоставлена компанией-поставщиком ЭКСТРАДЭН, ООО. Для того, чтобы получить дополнительную информацию, узнать актуальную цену или условия постаки, нажмите ссылку «Отправить сообщение». |
|
|
О проекте
Поставщики машин и оборудования
Профессионалы строительного рынка
|
Редакция портала не несет ответственности за достоверность информации, опубликованной компаниями в новостях, статьях, описании товаров и в рекламных материалах.
|
