Поиск:
 

Стальные вертикальные резервуары

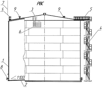
RU-1000 Рейтинг
Поделитесь страницей в Социальных сетях
Стальные вертикальные резервуары
Резервуары изготавливаются по индивидуальным проектам, для различных областей народного хозяйства. Все технические решения, принятые при проектировании резервуаров, соответствуют требованиям экологических, санитарно-гигиенических, противопожарных и других норм, действующих на территории РФ. Поставляются металлоконструкции резервуаров в рулоне, в зависимости от объема и конструктивного исполнения могут размещаться в одном и более рулонах. При необходимости резервуары комплектуются необходимыми технологическими элементами: люками, патрубками, лестницами, площадками обслуживания и другим технологическим оборудованием. Также наша компания имеет возможность изготовить и поставить резервуар для различных климатических условий, в т.ч. для районов крайнего севера, с комплектом теплоизоляции, необходимыми подогревателями и другим специальным оборудованием.
Вас также могут заинтересовать

Резервуар РВС-20000 м?, стальной вертикальный резервуар

Резервуар РВС-20000 м?, стальной вертикальный резервуар ООО «СЕРП» предлагает вниманию всех заинтересованных лиц и организаций резервуары РВС, выполненные на высоком профессиональном уровне с использо

Резервуары стальные вертикальные

Резервуар - представляет собой герметично закрываемый или открытый искусственно созданный стационарный сосуд, наполняемый жидким, газообразным или другими веществом. По типу расположения резервуары пр

Резервуары стальные вертикальные

Резервуары стальные вертикальные

Резервуары стальные вертикальные

"Резервуары вертикальные стальные цилиндрические РВС предназначены для хранения, приема, выдачи нефтепродуктов и воды, а также других жидкостей, в различных климатических условиях. Резервуар РВС изгот

Изготовление вертикальных резервуаров с понтоном, резервуары цилиндрические стальные для хранения нефтепродуктов, нефти

Изготовление вертикальных резервуаров с понтоном, резервуары цилиндрические стальные для хранения нефтепродуктов, нефти. Типовой проект резервуара. Назначение резервуаров: •хранение горюче-смазочны
Внимание!
Информация по Стальные вертикальные резервуары предоставлена компанией-поставщиком Уралнефтесервис, ЗАО. Для того, чтобы получить дополнительную информацию, узнать актуальную цену или условия постаки, нажмите ссылку «Отправить сообщение».
Контакты компании
Страна
Россия
Регион
Пермский край
Город
Чайковский
Адрес
Чайковский, ул. Гальперина, д. 17
Телефон
+7 (34241) 71187
Сделать запрос
Введите свое имя
Укажите свой Email
Напишите ваш вопрос
Подтвердите согласие