Поиск:
 

Компания Саратовский завод резервуарных металлоконструкций ТД, ООО представлена в следующих разделах

RU-1000 Рейтинг
Поделитесь страницей в Социальных сетях
Предложения компании
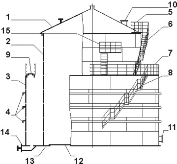
Металлоконструкции вертикальных цилиндрических сварных стальных резервуаров для нефти, нефтепродуктов, воды и других жидкостей выполненные по междунар...
Подробно >>

Поставщик: Саратовский завод резервуарных металлоконструкций ТД, ООО

Решетчатый настил (РН) используется для устройства лестничных маршей, переходных и технологических площадок. Исключительно высокая грузоподъемность и...
Подробно >>

Поставщик: Саратовский завод резервуарных металлоконструкций ТД, ООО

"Металлоконструкции вертикальных стальных сварных резервуаров емкостью от 100 до 50 000 куб.м. с защитной стенкой ("стакан в стакане") Металлоконструк...
Подробно >>

Поставщик: Саратовский завод резервуарных металлоконструкций ТД, ООО

Контакты компании
Страна
Россия
Регион
Московская область
Город
Москва
Адрес
Москва, Саввинская наб., д. 15
Телефон
+7 (495) 2580481
Сделать запрос
Введите свое имя
Укажите свой Email
Напишите ваш вопрос
Подтвердите согласие